今天是:
 
您当前的位置 : 首页 >>正文

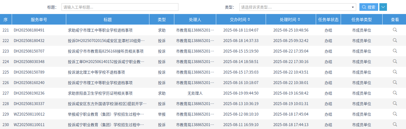
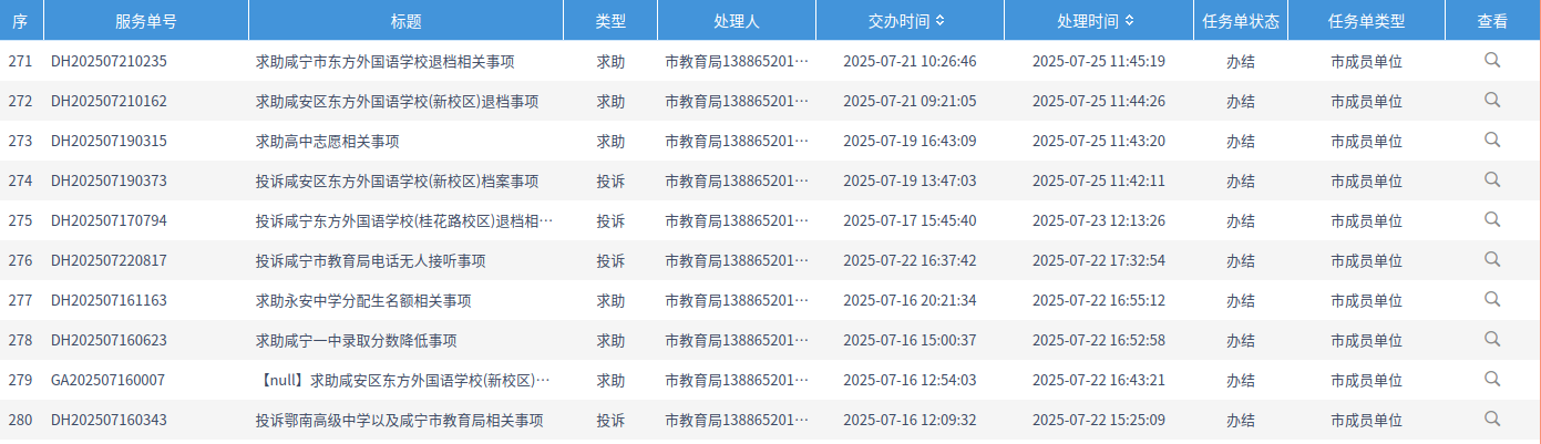
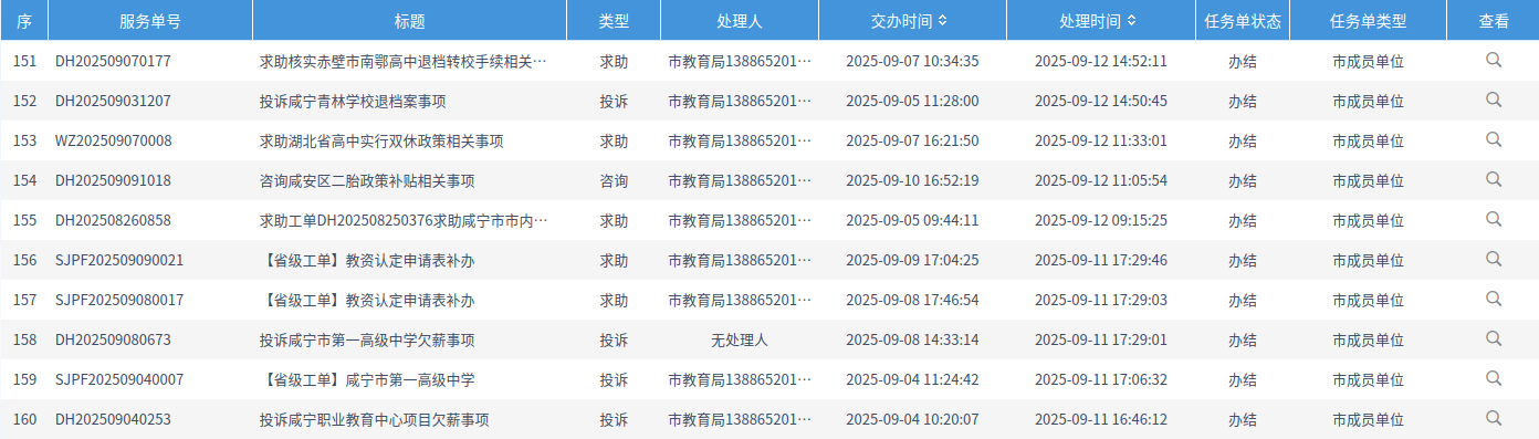
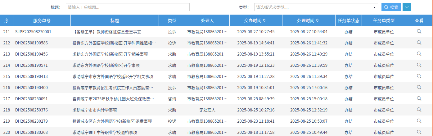
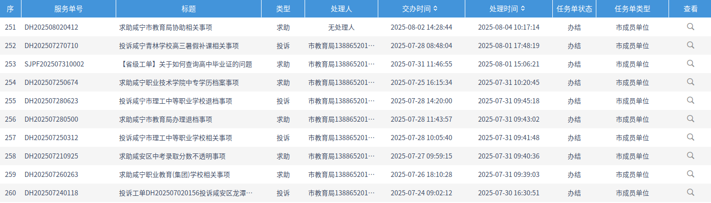
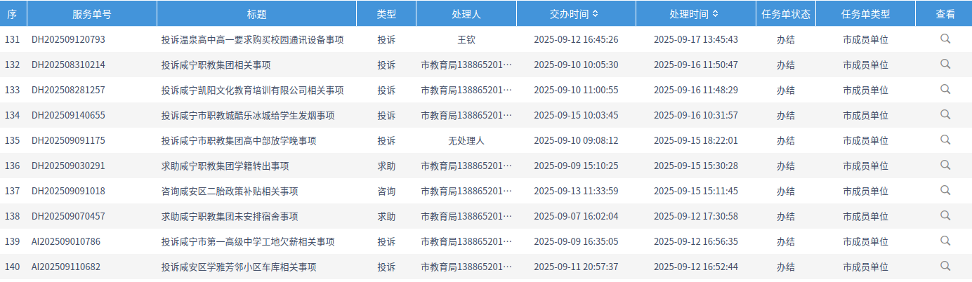
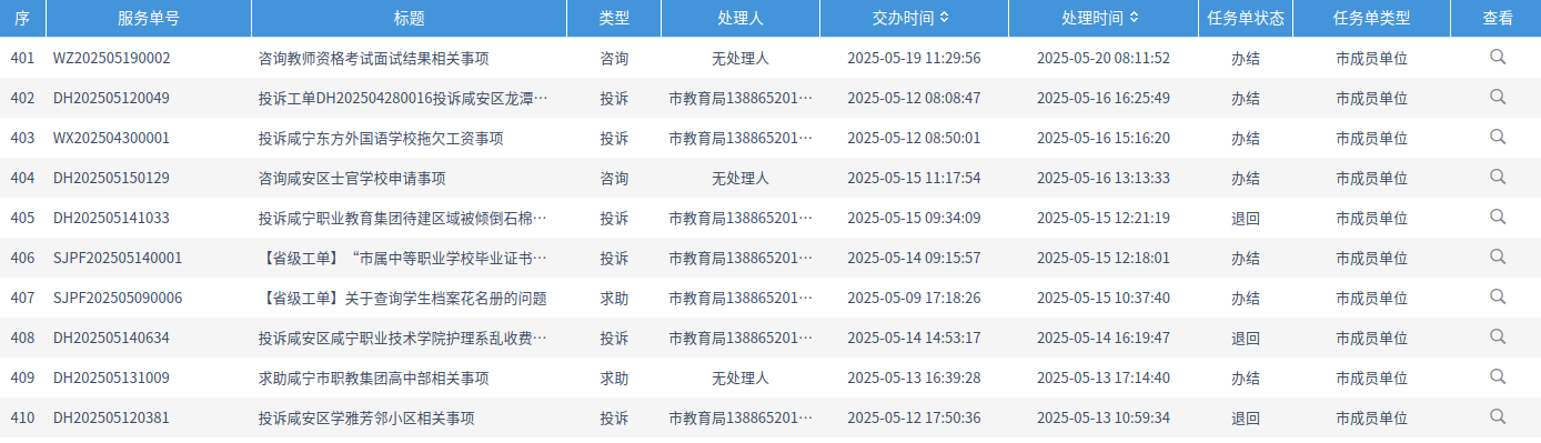
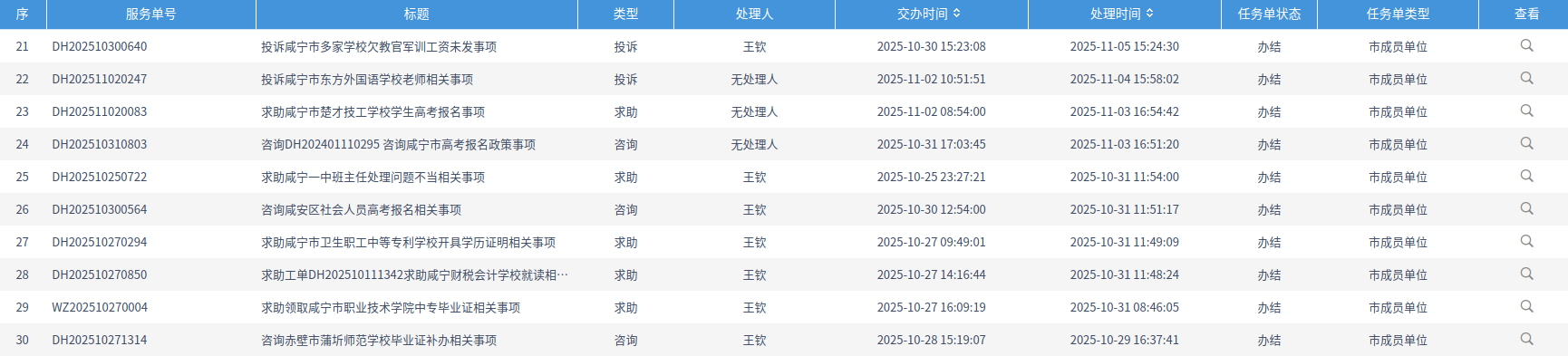
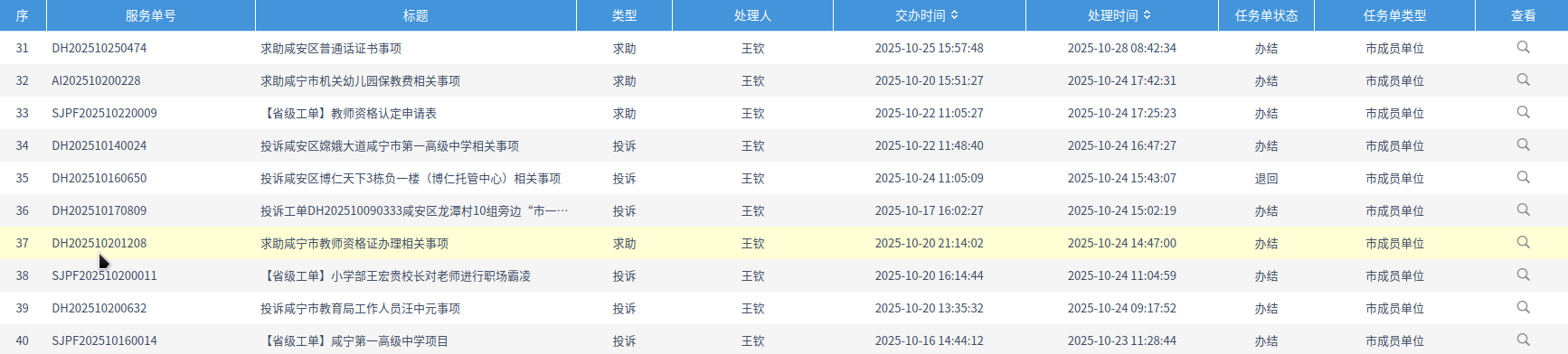
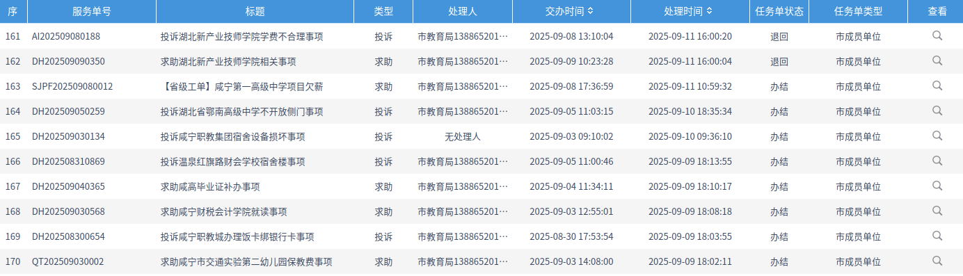
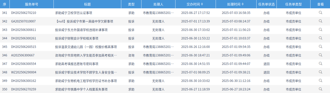
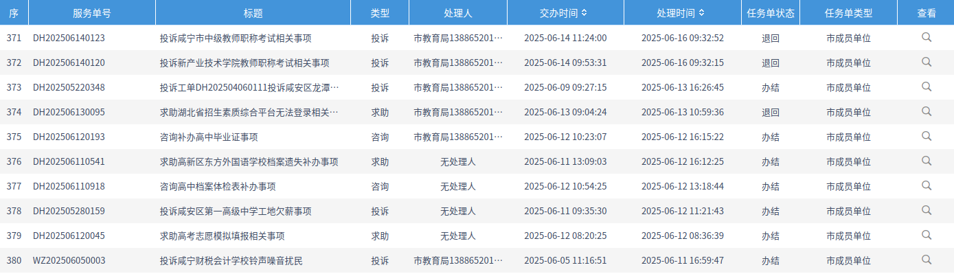
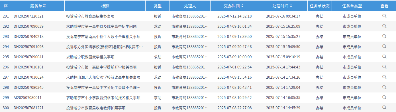
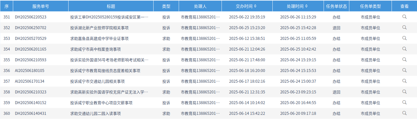
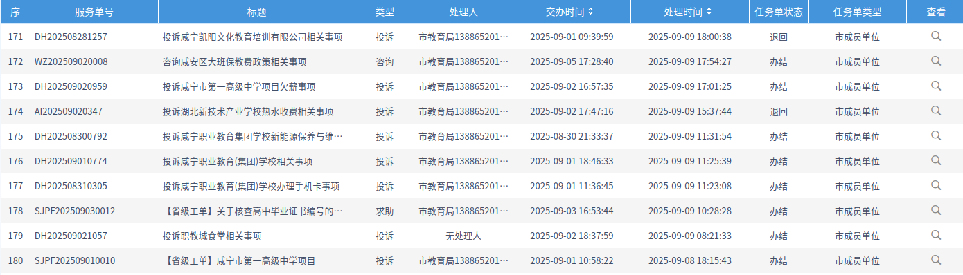
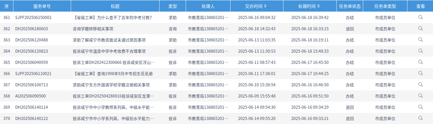
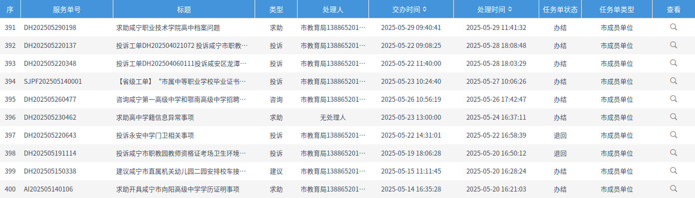
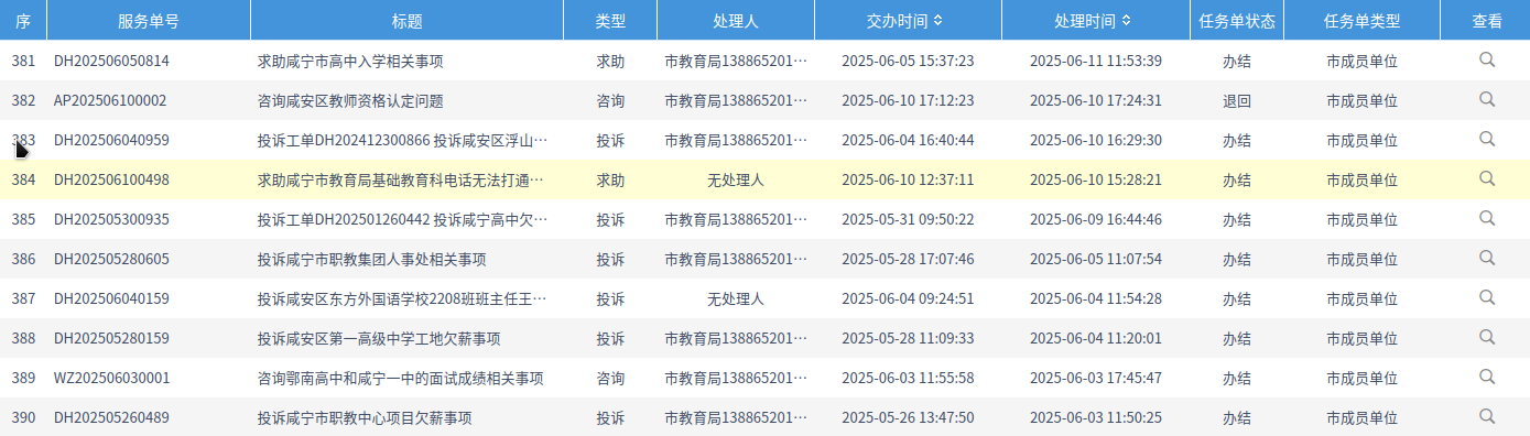
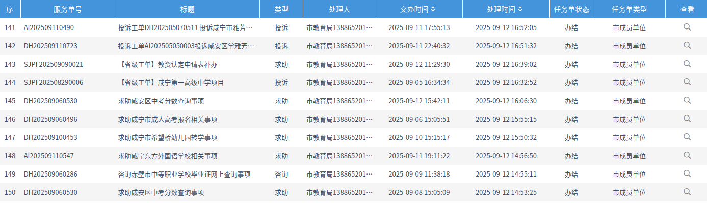
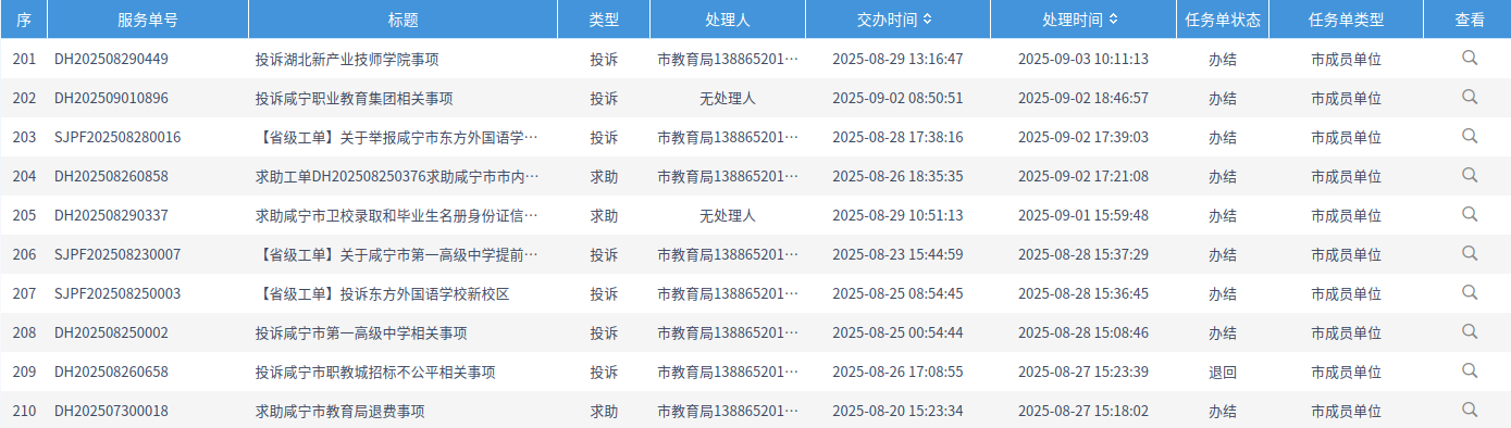
2025年4-11月群众咨询事项回复

索引号 : 011337776/2025-29855 文  号 :

主题分类: 教育 发文单位: 咸宁市教育局

名 称: 2025年4-11月群众咨询事项回复 发布日期: 2025年11月14日

有效性: 有效 发文日期: